您现在的位置是:首页 > 智能机电
深圳市天华电子科技有限公司曾有行政处罚不良信息记录
智慧创新站
2025-11-13【智能机电】203人已围观
简介深圳市天华电子科技有限公司成立于2016年04月14日,注册地位于深圳市宝安区沙井街道步涌社区同富裕工业区中熙工业区J栋厂房三层。法定代表人:廖少林。一一般经营项目是:电子产品、PCB线路板、LED线路板、成品灯具、五金元器件、金属制品的技术开发与销售;投资兴办实业(具体项目另行申报);线路板的销售...
深圳市天华电子科技有限公司成立于2016年04月14日,注册地位于深圳市宝安区沙井街道步涌社区同富裕工业区中熙工业区J栋厂房三层。法定代表人:廖少林。一一般经营项目是:电子产品、PCB线路板、LED线路板、成品灯具、五金元器件、金属制品的技术开发与销售;投资兴办实业(具体项目另行申报);线路板的销售;国内贸易、货物及技术进出口;模具销售;电子元器件批发;电子元器件零售;橡胶制品销售。(除依法须经批准的项目外,凭营业执照依法自主开展经营活动),许可经营项目是:线路板的生产;电子元器件制造;显示器件制造;橡胶制品制造。
根据裁判文书网以及天眼查、企查查、启信宝等知名企业信息查询平台上,该公司历史上与合作企业发生相关纠纷,各大企业信息查询平台通过互联网爬虫技术,将该诉讼信息爬取显示,具体显示为:
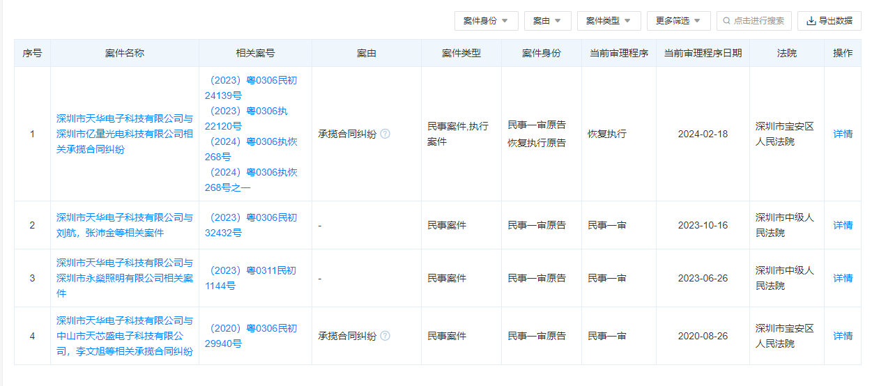
一、在APP“企查查”中,深圳市天华电子科技有限公司作为诉讼当事人、行政处罚当事人,企业风险信息仍旧有如下公示记录(部分截图):




二、在APP”“天眼查”中,深圳市天华电子科技有限公司作为诉讼当事人、行政处罚当事人,企业风险信息仍旧有如下公示记录(部分截图):


三、在APP“启信宝”中,深圳市天华电子科技有限公司作为诉讼当事人、行政处罚当事人,企业风险信息仍旧有如下公示记录(部分截图):


目前由于该公司没有进行完全信用修复,上述不良信息记录依旧被第三方平台记录,甚至归属于经营风险。“罚与信”信息平台在进行企业信用调查时,发现,部分求职者和合作企业因为通过天眼查、企查查等平台很容易就查到上述不良记录,故而对于该公司依旧存在一定疑虑,表示在同等条件下,更倾向于选择没有类似上述不良记录的竞争企业进行合作。对此,“罚与信”平台认为,该公司作为一家成立时间较长的企业,应当尽快进行信用修复,以免被求职者和潜在客户误会历史企业信用问题。
很赞哦!(39)
相关文章
- 东华科技获得发明专利授权:“一种石墨烯包覆纳米铜颗粒复合材料的制备方法”
- 龙磁科技拟收购恩沃新能源51%股权 软磁产业链向应用端延伸
- 创新品牌力·风采丨双飞成套设备有限公司:以科技创新促发展
- 高频逆变器是什么?了解一下!
- 中国一汽取得汽车铰链专利,避免后背门内板与后背门铰链的直接接触发生电偶腐蚀现象
- 虹软科技股东瑞联新产业减持812万股 套现3.17亿 2022年公司净利5779.73万
- 警惕!美军动向:与美科技巨头加速勾连,生成式AI军事化
- 文博日历丨生活需要加点盐 古代盐井开凿“黑科技”了解一下
- 弱电工作者需要知道的网络知识2
- 科技赋能运动健身新风潮,IWF 2024上海国际健身展在浦东落幕